Россия, Москва, проспект Мира
Телефон:
+7 (495) 500-01- Показать номер
Пн-вс: 11:00—20:00
whatsapp telegram vk email

Что такое линейный компрессор холодильника и какие у него функции

Холодильники стали важной частью нашей жизни, и их эффективность зависит от технологий. Одной из таких технологий является линейный компрессор, который отличается от традиционных компрессоров. В этой статье мы рассмотрим, что такое линейный компрессор, его принцип работы и функции, а также сравним его с обычными компрессорами. Понимание этих аспектов поможет вам сделать осознанный выбор при покупке холодильника и оценить его преимущества в энергоэффективности и производительности.

Разновидности компрессоров для холодильника

Холодильный компрессор – это устройство, предназначенное для обеспечения циркуляции хладагента в системе теплообмена. Его основная функция заключается в отводе тепла из холодильных камер, что создает условия для охлаждения, замораживания и длительного хранения продуктов.

Примечание. Хладагент – это рабочее вещество, применяемое в холодильных системах (в современных моделях чаще всего используется фреон). Обладая низкой температурой кипения и испарения, хладагент поглощает тепло от охлаждаемого объекта, а затем, после сжатия, отдает его окружающей среде в виде конденсата.

Существует три основных типа компрессоров, которые применяются в производстве холодильных установок.

Линейный компрессор холодильника представляет собой современное решение, которое значительно улучшает эффективность работы холодильных систем. Эксперты отмечают, что в отличие от традиционных компрессоров, линейные устройства используют прямолинейное движение поршня, что позволяет снизить уровень шума и вибрации. Это делает холодильники более тихими и комфортными в использовании.

Кроме того, линейные компрессоры обеспечивают более точное поддержание заданной температуры, что способствует лучшему сохранению продуктов. Они также отличаются высокой энергоэффективностью, что позволяет снизить потребление электроэнергии и, соответственно, расходы на коммунальные услуги. В целом, линейные компрессоры становятся все более популярными благодаря своей надежности, долговечности и способности обеспечивать оптимальные условия хранения продуктов.

Чем линейный компрессор LG отличается от обычного?Чем линейный компрессор LG отличается от обычного?

Стандартный, или классический

Самый простой тип системы. Устанавливался в старых устройствах, считается устаревшим механизмом. Имеет вид электромотора с поршневым насосом, который сжимает и перекачивает фреон по системе. Установка функционирует до тех пор, пока в отсеках не установится заданная температура, после чего она отключается.

Характеристика Линейный компрессор Инверторный компрессор (для сравнения)
Принцип работы Изменяет скорость вращения ротора плавно, в широком диапазоне. Включается и выключается, поддерживая заданную температуру циклами.
Потребление энергии Низкое, благодаря плавной регулировке мощности. Более высокое, из-за циклической работы.
Уровень шума Низкий, благодаря плавной работе. Более высокий, из-за частых включений/выключений.
Срок службы Обычно выше, благодаря меньшему износу от частых включений/выключений. Может быть короче, из-за частых циклов работы.
Регулирование температуры Высокая точность, благодаря плавной регулировке мощности. Менее точная, из-за циклической работы.
Вибрация Низкая Более высокая
Стоимость Обычно выше Обычно ниже
Основные функции Поддержание заданной температуры, экономия энергии, низкий уровень шума. Поддержание заданной температуры.

Интересные факты

Вот несколько интересных фактов о линейных компрессорах холодильников и их функциях:

  1. Энергоэффективность: Линейные компрессоры работают на основе линейного движения поршня, что позволяет им более эффективно использовать энергию по сравнению с традиционными ротационными компрессорами. Это приводит к снижению потребления электроэнергии и, как следствие, к более низким счетам за электричество.

  2. Тихая работа: Благодаря своей конструкции линейные компрессоры работают значительно тише, чем их ротационные аналоги. Это делает холодильники с линейными компрессорами идеальными для использования в жилых помещениях, где шум может быть проблемой.

  3. Долговечность и надежность: Линейные компрессоры имеют меньше движущихся частей, что снижает вероятность поломок и увеличивает срок службы устройства. Это делает их более надежными и менее подверженными необходимости в ремонте по сравнению с традиционными компрессорами.

Линейный и инверторный компрессорыЛинейный и инверторный компрессоры

Инверторный

Электродвигатель с поршневой помпой является основным механизмом, применяемым в производстве современных моделей. Он создает давление хладагента в системе, а скорость вращения регулируется электроникой. Установка функционирует непрерывно, и при достижении заданной температуры не отключается, а просто уменьшает свою мощность.

Что такое линейный компрессор холодильника и какие у него функции

Линейный

Используется в большинстве моделей с системой сухой заморозки. Производится в виде катушки с электромагнитным стержнем, который соединен с поршнем насоса. Принцип работы – как у стандартного компрессора.

Линейный компрессор LG, подключение напрямую 220В (без управляющего модуля)Линейный компрессор LG, подключение напрямую 220В (без управляющего модуля)

Линейно-инверторный

Самый тихий и экономичный механизм, который объединяет лучшие качества линейных и инверторных технологий. Он состоит из магнитной катушки и поршня насоса, скорость движения которого контролируется электроникой. Работает без перерывов. При достижении заданной температуры механизм снижает обороты, чтобы поддерживать стабильные параметры.

Может быть полезно:

Что такое капельная система разморозки холодильника

Как выбрать холодильник, не требующий разморозки

Назначение испарителя в холодильнике — для чего он нужен

Технические характеристики линейных компрессоров, использующихся в холодильных установках

Подробнее расскажем о линейном типе компрессора – что это такое, каковы его технические характеристики и принцип работы.

Приблизительно 80% бытовых холодильников работают на линейных компрессорах, отличающихся низким шумовым фоном и энергосбережением.

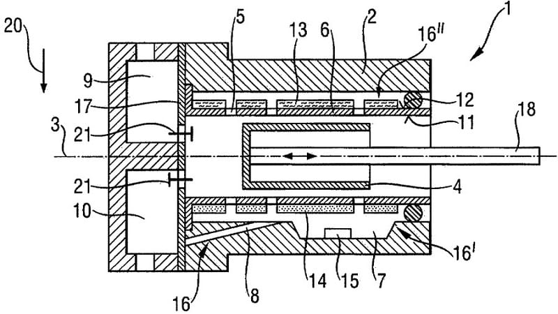
Линейная установка состоит из таких основных деталей:

  • цилиндр;
  • обмотка электромагнитной катушки;
  • поршень;
  • пружина.

Принцип работы механизма:

  1. На обмотку электромагнитной катушки подается напряжение.
  2. Обмотка создает электромагнитное поле вокруг поршня.
  3. Поршень под воздействием электромагнитного поля начинает двигаться. На торце поршня находится пружина, которая после сжатия возвращает его в исходное положение. Процесс повторяется.
  4. После завершения процесса катушка отключается, поршень останавливается.
  5. Через определенное время цикл повторяется.

Работа холодильника с линейным компрессором осуществляется в три этапа:

  1. Включение. Датчик в камере контролирует температуру, и как только она превышает указанный уровень, включается компрессор.
  2. Охлаждение. Компрессор запускает циркуляцию хладагента в системе. Происходит охлаждение отсеков холодильника до установленных температурных значений.
  3. Отключение. Во время работы механизма датчик продолжает проверять температурные значения. После достижения необходимой температуры компрессор отключается.

Цикл повторяется беспрерывно, пока холодильная установка подключена к электросети.

Что такое линейный компрессор холодильника и какие у него функции

Технические показатели

Существует три ключевых технических параметра, характеризующих работу компрессорных установок: рабочее давление, холодопроизводительность и электрическая мощность.

Примечание. Значения этих показателей могут изменяться в зависимости от конкретной модели холодильника.

Рабочее давление, создаваемое компрессором, находится в диапазоне 2-4 атмосфер. Этот уровень давления необходим для эффективной циркуляции хладагента в системе. Для обеспечения безопасности установлены специальные регуляторы, которые поддерживают давление на требуемом уровне, иначе может произойти разрыв трубопроводов с хладагентом.

Параметр холодопроизводительности напрямую связан с электрической мощностью и зависит от типа компрессора и используемого хладагента.

Например, холодильники марки LG, использующие хладагент фреон R12, обладают следующими характеристиками:

Модели холодильников LG Электрическая мощность (Вт) Холодопроизводительность (ккал/час)
NS24AJG 80 45
NSA43AJG 117 96
NR62CEG 167 150

Что такое линейный компрессор холодильника и какие у него функции

Достоинства и недостатки линейных компрессоров

Преимущества линейных компрессоров в холодильных установках:

  1. Минимальный уровень шума, что обеспечивается плавным запуском и остановкой работы компрессора.
  2. Продолжительный срок службы благодаря простому механизму, который содержит немного подвижных деталей.
  3. Экономный расход энергоресурсов.
  4. Нечувствительность линейных компрессоров к перепадам напряжения.
  5. Минимальные температурные отклонения. Система контролирует отклонения температуры в камере от установленной.
  6. Длительное хранение продуктов благодаря стабильной температуре и быстрому охлаждению.
  7. Рыночная стоимость таких холодильников ниже, в сравнении с моделями, оборудованными другими компрессорными системами.

Установка имеет несколько недостатков: характерные щелчки при включении и отключении устройства, при запуске компрессор испытывает максимальную нагрузку.

Какие холодильники самые бесшумные и надежные

Как выбирать холодильник по рейтингу — ТОП 10

Заключение

Линейный компрессор является ключевым элементом холодильного устройства, отвечающим за движение хладагента в системе и поддержание нужной температуры в камерах. Его работа осуществляется в циклическом режиме.

Среди главных достоинств установки можно выделить: тихую работу, продолжительный срок службы, экономичность, устойчивость к колебаниям напряжения и поддержание стабильной температуры.

Принцип работы линейного компрессора

Линейный компрессор является ключевым элементом холодильной системы, отвечающим за сжатие хладагента и его циркуляцию по системе. В линейном компрессоре используется электродвигатель, который приводит в движение поршень, создавая необходимое давление для сжатия хладагента.

Когда компрессор включается, электродвигатель активирует поршень, который начинает двигаться вперед и назад в цилиндре. Это движение создает область низкого давления, в которую хладагент поступает из испарителя. Затем, когда поршень движется в обратном направлении, хладагент сжимается, и его давление возрастает. Сжатый хладагент затем направляется в конденсатор, где он отдает тепло и превращается в жидкость.

Одним из основных преимуществ линейного компрессора является его высокая энергоэффективность. Благодаря прямому преобразованию электрической энергии в механическую работу, линейные компрессоры могут работать с меньшими потерями энергии по сравнению с традиционными компрессорами. Это позволяет значительно снизить потребление электроэнергии, что особенно актуально в условиях постоянного использования холодильников и морозильников.

Кроме того, линейные компрессоры обеспечивают более стабильную работу и меньший уровень шума. Поскольку движение поршня является линейным, вибрации и шумы, возникающие при работе компрессора, минимизируются. Это делает холодильники с линейными компрессорами более комфортными в использовании, особенно в жилых помещениях.

Линейные компрессоры также отличаются высокой надежностью и долговечностью. Они имеют меньше движущихся частей, что снижает вероятность поломок и увеличивает срок службы устройства. Это делает их привлекательными для производителей холодильного оборудования, которые стремятся предложить своим клиентам надежные и эффективные решения.

В заключение, основан на линейном движении поршня, что обеспечивает высокую энергоэффективность, низкий уровень шума и надежность. Эти характеристики делают линейные компрессоры все более популярными в современных холодильниках и морозильниках, что способствует улучшению качества жизни пользователей и снижению затрат на электроэнергию.

Вопрос-ответ

Каковы основные функции линейного компрессора в холодильнике?

Линейный компрессор отвечает за сжатие хладагента, что позволяет поддерживать необходимую температуру внутри холодильника. Он также обеспечивает более эффективное и тихое функционирование устройства, а также способствует экономии электроэнергии за счет более точного контроля температуры.

В чем отличие линейного компрессора от традиционного?

Основное отличие линейного компрессора от традиционного заключается в принципе работы. Линейный компрессор использует прямолинейное движение поршня, что позволяет уменьшить количество движущихся частей и снизить уровень шума. Традиционные компрессоры, как правило, работают на основе вращательного движения, что может приводить к большему износу и шуму.

Как линейный компрессор влияет на энергопотребление холодильника?

Линейный компрессор значительно снижает энергопотребление холодильника благодаря более эффективному управлению температурой и меньшему количеству циклов включения и выключения. Это позволяет устройству работать более стабильно и экономично, что в итоге приводит к снижению затрат на электроэнергию.

Советы

СОВЕТ №1

Перед покупкой холодильника с линейным компрессором, обязательно ознакомьтесь с его характеристиками и отзывами пользователей. Это поможет вам понять, насколько эффективно и надежно работает данное устройство в реальных условиях.

СОВЕТ №2

Регулярно проводите техническое обслуживание вашего холодильника, включая чистку конденсатора и проверку уплотнителей дверей. Это поможет продлить срок службы линейного компрессора и улучшить его производительность.

СОВЕТ №3

Обратите внимание на уровень шума, который издает линейный компрессор. Многие современные модели работают значительно тише, чем традиционные компрессоры, что может быть важным фактором при выборе холодильника для кухни или открытого пространства.

СОВЕТ №4

Изучите функции энергосбережения, которые предлагает линейный компрессор. Многие модели имеют режимы, позволяющие экономить электроэнергию, что не только снизит ваши счета, но и будет более экологичным решением.

Ссылка на основную публикацию
Похожее